Marine Eye End Fittings
We only recommend using marine eyes for specific applications in extreme environments or when a certain aesthetic is required. Contact us for advice on marine eye swaged cable ends, stainless steel wire rope fittings, and other fittings.
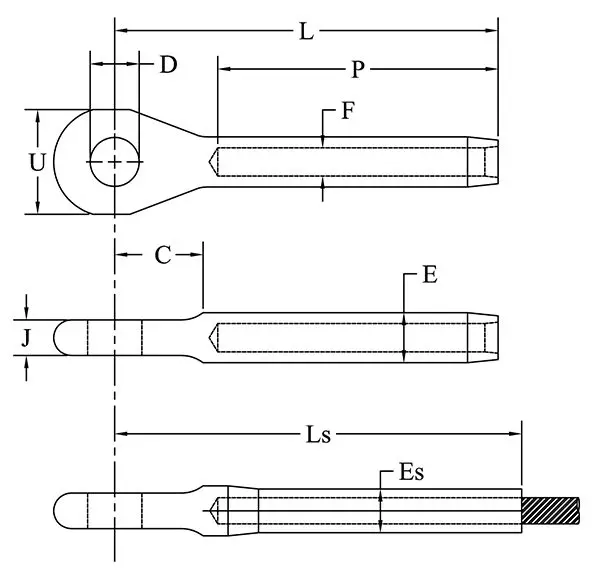
The chart below will help you determine which part number is best suited for your application.

Marine Eye End Fittings
| Cable Dia. | C Ref. | D +.010 -.010 | E | F | J ± 1/32 | L | P +.032 -.010 | Max. U Ref. | After Swage Es +.000 -.009 | After Swage Ls Ref. |
|---|---|---|---|---|---|---|---|---|---|---|
| 1/16 | .500 | .264 | 0.160 in | .078 in | .218 in | 1.500 in | 1.063 in | 0.594 in | .138 in | 1.809 in |
| 3/32 | .500 | .264 | 0.218 in | 0.109in | .218 in | 1.58 in | 1.188in | 0.594 in | .190 in | 2.070 in |
| 1/8 | .500 | .264 | 0.250 in | 0.141 in | .218 in | 2.088 in | 1.500 in | 0.594 in | .219 in | 2.401 in |
| 5/32 | .580 | .327 | 0.297 in | 0.172 in | .281 in | 2.355 in | 1.688 in | 0.750 in | .250 in | 2.709 in |
| 3/16 | .710 | .389 | 0.359 in | 0.203 in | .329 in | 2.570 in | 2.000 in | 0.875 in | .313 in | 3.147 in |
Request a Quote
Submit your info and basic project details and our qualified staff will contact you promptly to discuss your inquiry.
- Contact us by filling out the form
- We will be in touch to review & confirm
- Receive order
Contact Us
Ready to take the next step? Contact Tyler Madison for expert advice and custom cable solutions. Our team is eager to assist with any questions and to help you achieve your project goals with precision and care. Let’s work together to create something exceptional.
Prefer to speak directly? Give us a call, and our team will be happy to assist you right away.





