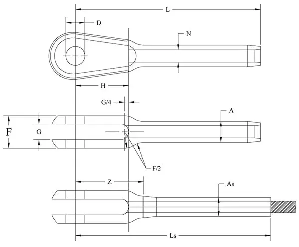
Fork End Fittings

The chart below will help you determine which part number is best suited for your application.

Fork End Fittings
| Part # | Cable Dia | A Dia. | As Dia | D Dia. | F +.010 -.005 | G | H | L +.020 -.000 | Ls Ref. | N Dia. | Z Min. |
|---|---|---|---|---|---|---|---|---|---|---|---|
| 360-003 | 1/16 in | .160 in | .138 in | .190 in | .218 in | .093 in | .500 in | 1.572 in | 1.75 in | .078 in | .600 in |
| 3/32 in | .218 in | 0.190 in | .190 in | 0.254 in | 0.108 in | .670 in | 1.945 | 2.06 in | .109 in | .750 in | |
| 360-003.2 | 1/8 in | .250 in | 0.219 in | .190 in | 0.383 in | 0.195 in | .735 in | 2.352 in | 2.61 in | .141 in | .914 in |
| 5/32 in | .297 in | 0.250 in | 0.250 in | 0.406 in | 0.202 in | .800 in | 2.655 in | 3.00 in | .172 in | 0.967 in | |
| 3/16 in | .359 in | 0.313 in | 0.313 in | 0.543 in | 0.260 in | .880 in | 3.071 in | 3.24 in | .203 in | 1.133 in |
Request a Quote
Submit your info and basic project details and our qualified staff will contact you promptly to discuss your inquiry.
- Contact us by filling out the form
- We will be in touch to review & confirm
- Receive order
Contact Us
Ready to take the next step? Contact Tyler Madison for expert advice and custom cable solutions. Our team is eager to assist with any questions and to help you achieve your project goals with precision and care. Let’s work together to create something exceptional.
Prefer to speak directly? Give us a call, and our team will be happy to assist you right away.



